地磅串聯式接線盒的原理和應用
本文從實踐的角度出發,首先介紹了地磅串聯式接線盒的原理、每個傳感器回 路上使用一個電位器或是兩個電位器接線盒間的差別,最后向新手推薦一種常規調角偏差的方法。
使用多只應變式傳感器地磅的“角差修正” 是地磅生產調試中的非常普通的一步工作,很多 人都會做,但其中也有一些誤區,這些誤區可能 使調試過程變得復雜甚至影響秤的長期穩定性。 本文從實踐的角度出發,首先介紹了串聯式接線 盒的原理、每個傳感器回路上使用一個電位器或 是兩個電位器接線盒間的差別,最后向新手推薦 一種常規的調角方法,希望能給大家啟發。
一、串聯式接線盒原理
(一)應變式傳感器并聯使用原理分析
目前采用多只應變式稱重傳感器裝成稱重單 元的地磅,基本上都是采用對應相同信號成并聯 的方式,即在邏輯上將所有的傳感器相對應的供 橋電源引線和信號引線分別接在一起實際應用 中還要加上角差修正用的電位器、電阻,接到儀 表上使用。
經理論分析計算,我們知道其并聯后的輸出 信號是各個傳感器輸出信號按其輸出阻抗的倒數 (電導加權平均后的信號。以四個傳感器為例, 并聯后的輸出信號為:

這樣并聯后的輸出信號和總重量成線性的正 比關系,而和各個傳感器分擔重量的百分比沒有 關系,在理論上可以認為這樣的衡器沒有角差。
實際上構成地磅的各傳感器間的靈敏度和輸 出阻抗不完全相同,因此并聯后的輸出信號和各 個傳感器分擔重量的百分比有關系,這就導致角 差。角差修正就是通過調節各傳感器的靈敏度或輸入阻抗,將靈敏度乘輸出電導的值調節一致。
(二)串聯式接線盒的原理
串聯式接線盒是通過調節單個傳感器的激勵 電壓來調節其靈敏度的。當電位器的阻值改變后, 其靈敏度和輸出阻抗都發生了改變,經理論計算靈敏度發生的變化要遠大于輸出阻抗發生變化的 影響,為了討論方便,下面我們僅考慮調節電位 器對靈敏度發生的影響。
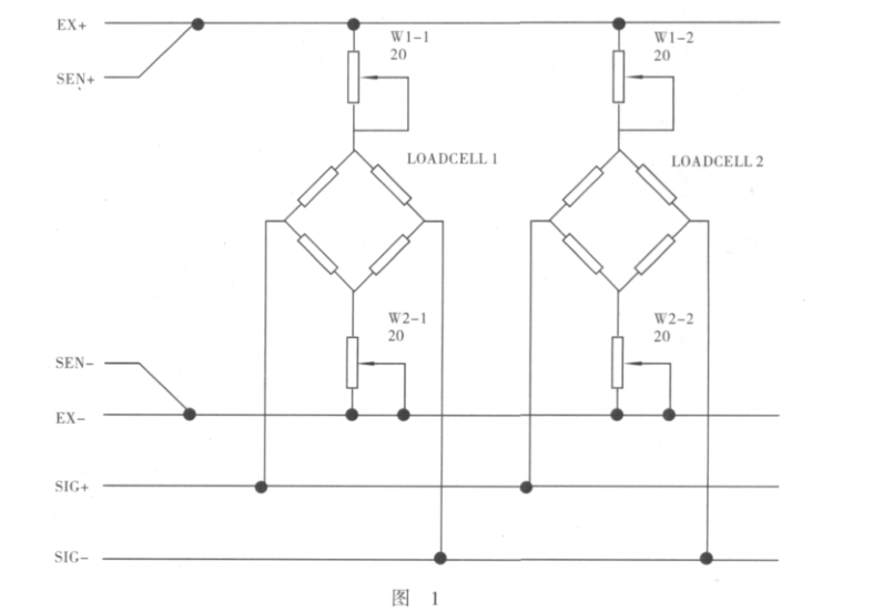
串聯式接線盒的原理如圖1所示。

二、串聯式接線盒的選擇
㈠串聯式接線盒的種類 目前常用的串聯式接線盒有兩種,㈠種是如 圖1所示采用2個電位器的調整方式,電位器的 阻值為20Q,另㈠種是只使用其中㈠個電位器的 方案(省略圖1中的W2-1和W2- 2的電位韓, 電位器的阻值為50Q。下面我們來比較㈠下兩者 的差別。
?使用兩個電位器方式的優點: a調節精度相對較高綢㈠圈對應的電阻較
少;
b.如果平衡的調節兩個電位器,調節后輸出 的共模電壓值不變,對零點的影響較小,調節比 較直觀。
?使用㈠個電位器的優點: a㈠個角只調節㈠個電位器,操作較容易: b.元器件減少㈠半,故障率也減少㈠半。
用戶可以根據自己的使用場合和偏好,選用 合適的串聯式接線盒方案。
㈡共模電壓不同對輸出零點的影響
下面簡單地分析㈠下共模電壓是否相同,對輸出零點的影響。以兩個傳感器為例,經分析計算,其并聯后的輸出信號為:

其中:G1、G2分別為傳感器信號正的輸出電導;
G1'、G2'分別為傳感器信號負的輸出電導: Uc1、Uc2分別為傳感器輸出的共模電壓:
Ud1、Ud2分別為傳感器輸出的差模電壓。 如果傳感器的輸出阻抗是平衡的,即傳感器 信號正的輸出電導等于信號負的輸出電導,則輸
出信號
,即輸出信號和共模電壓沒有關系。
如果傳感器的輸出阻抗是不平衡的(比如傳 感器生產工藝中輸出電阻調節時會單邊串入㈠個 歐姆級的電阻,造成傳感器輸出阻抗的不平衡則共模電壓的不同會帶來零點的變化。
假設其中有一個傳感器的輸出阻抗不平衡 (G1^ G1', G2=G2),則輸出信號

其中共模電壓對輸出信號零點的影響是
jj _ G2(G1_ G' 1)(Uc1_ 1Uc2)
z_ G1+G2 (G1'_ G2)
影響程度分析:假設一個40t的秤使用兩個 30t的傳感器,靈敏度為2mV/V,儀表的供橋電壓 為5V。一號傳感器的輸出阻抗不平衡,輸出電導 分別是G1=1/350和G1'=1/355, 二號傳感器的輸 出電導為G2=1/350。
使用1t的砝碼壓角調角差。1t砝碼的輸出信 號為0.33mV。則每調節1%的靈敏度會產生最大 3.3^ V的線性變化。同時調節1%的靈敏度會產生 0.025V的共模電壓差,繼而產生88|J V的零點變化叫
。可以
看出零點的變化要遠大于線性的變化。這一點在 使用一個電位器的接線盒時必須特別注意。
當前很多傳感器廠家都是采取阻抗分類配對 的方式,其輸出阻抗的平衡性較好,則共模電壓不 同對輸出零點的影響可以忽略。使用這類傳感器時 則可采用一個電位器的調節方式,調節更方便。
三、串聯式接線盒調節方法
串聯式接線盒調節方法很多,下面給新手推 薦一種常規的調節方法。
(一)將所有電位器都調到中間值。(如果接線 盒出廠時已經調整過,可以跳過該步驟)
操作方法:將萬用表調節到歐姆檔,搭在總 線的E+域E-)和傳感器接口的E+域E-) 上,調節對應的電位器到相應的阻值,比如20Q 的電位器都調節到10Q。
(二)將儀表調到內碼或者細分碼的顯示狀態, 用同樣重量的砝碼威重物壓各個角,記錄各個 角的儀表顯示值,分別為N1、N2、N3?Nn。
(三)計算調節電壓

其中N?為誤差最大一個角的儀表顯示值

P1為經驗系數,一般為0.25?0.75,按不同秤 臺和安裝結構會有差別,需在實踐中調整。
E為儀表的供橋電壓,準確的說是在接線盒總 線上測得的供橋電壓。
Uad為需要調節的電壓
(四) 調節
如果使用的單路是兩個電位器的接線盒:將 萬用表調到電壓檔,搭在總線的E+和對應傳感器 接口的E+上,調節對應的電位器。如果該角偏小 則將電壓調小0.5Uad ;如果該角偏大則將電壓調大 0.5Uad。再搭在總線的E_和對應傳感器接口的E- 上,調節對應的電位器。如果該角偏小則將電壓 調小0.5Uaj ;如果該角偏大則將電壓調大0.5Uad。
如果使用的單路是一個電位器的接線盒:將萬 用表調到電壓檔,搭在總線的E+和對應傳感器接 口的E+上,調節對應的電位器。如果該角偏小則 將電壓調小Uadj ;如果該角偏大則將電壓調大Uadj。
(五)重復(二?(四步驟,直至誤差符合 要求。
(六)小建議
電位器的溫度系數一般都較大,最好的也要 100ppm^r,如果接350Q的傳感器,使用單路兩 個電位器的接線盒,電位器的初始值都調節到 10Q左右,接線盒會給整秤帶來5.7ppmTC的線性 溫度漂移,是不可忽略的誤差。
對于溫度特性要求高的場合,建議在調試前 將電位器的初始值都調節到0Q,這樣可以將接線 盒的溫度影響降到最低,但缺點是只能調小不能 調大,當某個角重量偏小時,必須調大其他角位 所有電位器的阻值,調試較麻煩。
四、調試實例
下面以XK3190- A9+儀表和單路兩個電位器 的四線制串聯式接線盒為例說明調試方法:
(一)首先將所有電位器都調到10Q
(二)將壓角砝碼標定到1000個分度,使儀表進入內碼顯示狀態,然后逐個壓角,記錄儀表顯 示的內碼。比如1號到4號角數據分別如下: 20250, 20000, 20250, 21500。
㈢計算Uad
通過觀察發現4號角的偏差最大,

(四)將萬用表調到電壓檔,搭在總線的E+ 和4號傳感器接口的E+上,調節對應的電位器。 將電壓調大0.244V ;然后再搭在總線的E-和4號 傳感器接口的E-上,調節對應的電位器。將電壓 調大 0.244V。
(五)重新壓角,記錄儀表顯示的內碼。1號 到4號的數據分別是:19982, 20000, 1998219890。
我們可以看到誤差從1500,降到了 110。 提示:從上面的數據可以發現4號角從多1500 變為少110,有點調過頭了,說明Pi取0.5得過 小,下次同種情況可以稍微調大一點Pi參數,如 調為0.51,可以加快調試速度。
重復(二 ~ (四的工作,直至誤差滿足要 求,完成角差修正。

