氣動式測力機的設計及在地磅檢測中的應用
在當今地磅行業,各種測力機的應用已經非常普遍,激烈的市場競爭需要 衡器生產廠家降低生產成本和提高生產效率;測力機作為每個地磅生產廠家必備的檢測設備, 其設計的實用性、可靠性、性價比以及工作效率直接影響到各地磅企業的生產成本和效率。 氣動式測力機由于采用空氣作為力源,不需要任何的伺服系統、放大系統等裝置,力源僅需 一臺靜音式氣泵,它以調試簡單、標定快速、穩定性好、維護方便和節能環保等優點,成為 了當今地磅行業的新寵,也預示著地磅業測力設備未來的發展方向。
一、前言
用氣泵代替液壓機應用在標準測力機上具有 氣源穩定性好,無環境污染,聲音小等特點,占 地面積一般是液壓機的幾分之一。該氣動式標準 測力機由特殊設計的雙氣缸結構、LN型傳感器、 高精度二次儀表和機架等組成。采用了一臺靜音 式氣泵作為力源,配合雙重空氣過濾裝置,使得 流入氣缸的空氣相當干凈,原裝進口的精密調壓 自動穩壓功能,不需要像液壓機那樣的伺服系統以及較為復雜的控制系統來進行補償。二次儀表采用高精度24位A/D轉換技術和多量程切 換技術,外部分辨率達十萬分之一以上。
二、系統結構
測力機的系統工作原理圖,如圖1所示。

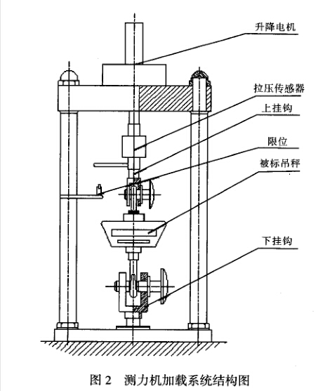
測力機的加載系統圖,如圖2所示。

三、主要部件介紹
(一)氣壓源系統
氣壓源系統由空氣壓縮機、儲氣罐、減壓閥及過濾器組成。
選用了國際先進的高性能氣壓調節器,結合 串聯式超級氣缸和微調氣缸設計,確保該測力機 具有髙性能要求并且擴大了檢測量程范圍。
氣壓閥安裝在空氣儲氣罐上,空壓機產生壓 縮空氣,自動控制空壓機啟動,確保儲氣罐內氣 壓不高于設定的上限值且不低于設定的下限值。 減壓閥則保證輸出壓力保持在設定的壓力值(不 隨儲氣罐內氣壓的波動而變化)。同時可通過過濾 器,過濾掉輸出氣體中的雜質和水分,確保向壓 力控制系統輸送的是純凈且壓力基本穩定的空氣。
(二)控制系統
控制系統主要由高精度調壓器(3只)、轉閥 (3只)及氣壓管路組成。本系統接受氣源系統提 供的壓縮空氣后,經過調節,可分別向主氣缸及 輔助氣缸輸送所需壓力值的氣壓,從而產生精確、 穩定的拉力或壓力負荷。

(三)主機系統
主機由兩個主氣缸、一個輔助氣缸、簡支梁 式反力架、工作平臺、反相器及連接件組成。
當主氣缸輸入壓縮空氣后,使主機產生拉力, 如果檢測到量程小于30%時用第一個主氣缸,量 程大于30%時兩個氣缸同時使用。

輔助氣缸有兩個功能,在開始使用前,輔助 氣缸充氣壓后,可使主機的工作平臺上升至最高 點,以便安裝被測件進行檢測。在檢測過程中, 調節輔助氣缸內氣壓大小,可對主機出力進行微 調。進行壓力檢測時,可用反相器將主機的拉力 轉換為壓力。
四、對地磅(電子吊秤)的檢測
(1)在確認系統處于不工作狀態時,插上空氣 機電源插頭。
(2)打開空氣機電源開關。
(3)將所需量程的標準傳感器安裝到主機調節 螺桿下端。
(4)如圖3所示,擰開空氣機氣源開關,將控 制器轉閥3-6手柄置于圖4-1狀態。順時針方向 轉動控制器的調節器旋鈕3-5至最低點。
(5)將被測電子吊秤掛上掛鉤,調節電動升降 機使被測吊秤下掛鉤掛人主機下連接環。
(6)打開與標準傳感器連接的儀表,并對顯示 值進行置零。
(7)將控制器的轉閥3-2手柄置于圖4-1狀態, 順時針方向轉動控制器的調節器3-1至拉力顯示 接近所需值時停止,微調控制器的調壓器3-5至 所需拉力值。
(8)逆時針方向轉動控制器的調壓器旋鈕3-1 及3-3,將控制器的轉陶3-2,3-4手柄由圖4-1 狀態轉換為圖4-3狀態,如此往返數次(一般3 次),充分預拉后,按以上方法逐級加載和卸載來 對電子吊秤進行檢測。
五、結束語
以空氣壓縮作為動力應用在標準測力機上, 目前屬國內首創,在實際的應用中,由于不需要 伺服放大裝置,控制系統可以做得非常簡單,幾 乎沒有延遲現象,只要輕輕轉動調節閥即可,整 個過程響應速度快、效率高,其加載速度可做到 大于靜重式測力機5倍以上以及液壓式測力機2 倍以上,為廣大地磅生產企業又提供了一個新穎、 廉價和高效的檢測設備。

