動態地磅自動檢測系統(WACS-2000)靜態實驗的測量不確定度分析
自2006年開始寧夏回族自治區區公路收費站安裝動態公路車輛自動衡器,
對貨運車輛實行計重收費,本文分析了動態地磅自動檢測系統WACS-2000 在靜態實驗中的測量不確定度。
1.檢測設備簡介
動態公路地磅自動檢測系統是針對 安裝在公路收費站道口的計重設備進行計量檢定 的機電一體化精密設備,是可移動的、高精度 的、對使用環境幾乎沒有特殊要求的自動化檢測 設備。
1.1基本構成
檢測設備由靜態壓力源、靜態壓力產生裝置、 高精度力傳感器、重量變送及顯示儀表、加載板、 提升機構、可編程控制器、觸摸式人機界面組成, 共分為機械系統和液壓伺服系統兩大部分。
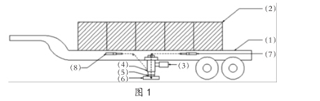
1.1.1機械系統
機械系統結構示如圖1所示。

靜態壓力源由移動式承載裝置半掛車0和 放置在其上的配載快(2組成。靜態壓力產生裝 置由電動組合液壓泵站3和主油缸4構成。 高精度壓力傳感器(5倒置安裝在主油缸活塞桿 的末端。加載板@通過安裝在承重結構上的提 升油缸(7懸掛在主油缸正下方。主油缸通過銷 軸安裝在承重結構縱梁下,安裝在承重結構縱梁 下的提升油缸8可在主油缸不使用時將其提起 收放在縱梁下,
1.1.2液壓伺服系統
液壓伺服系統由可編程控制器、計量泵、電 動三位四通換向閥、伺服泵、力傳感器、力變送 器、油缸組成。高精度力傳感器連接力變送器, 可編程控制器的輸入端連接力變送器的輸出端,可編程控制器的第一個輸出端連接主油泵,用于 控制主油泵的啟動、停止及其轉速;可編程控制器 的第二輸出端連接電動三位四通換向閥,用于切換 泵油的方向;可編程控制器的第三個輸出端連接電 動微調執行機構,用于輸出壓力的精確調整。
1.1.3輔助系統
輔助系統是用來完成機械系統動作執行的, 列如:主油缸的提升與下降、加載板的提升與下 降,加載板的機械鎖定。
1.1.4支腿
在檢測設備需長期停放或臨時需摘下牽引車 時,可以使用液壓支腿將設備整體支撐起來,在 液壓支腿的操作組合開關上豎直排列有三個按鈕, 分別是向上、停止、向下。
2.不確定度分析
2.1概述
2.1.1依據:JJG 907-2006〈〈動態公路車輛自動衡器》。
2.1.2標準:要求該裝置的擴展不確定度U 小于動態公路車輛自動衡器最大允許誤差MPE的 1/3,即 MPE 各 1/3U。
2.1.3被測對象:5級動態公路車輛自動衡器 靜態部分,最大稱量300004。
2.1.4測量方法:如圖1所示,我們采用把 高精度力傳感器作為標準器的反力框架法。
2.2不確定度的主要來源
2.2.1高精度力傳感器示值誤差引入的標準 不確定度分量U1。
2.2.2高精度力傳感器安裝誤差引人的不確 定度分量 u 3。
2.2.3相同條件下動態公路車輛自動衡器自 身的重復性、測量方法與規定的方法和程序的不 一致性、人員誤差的存在、環境對測量結果的影 響所引人的標準不確定度分量可不必考慮。
2.3標準不確定度分量
2.3.1高精度力傳感器示值誤差的標準不確 定度 u1
根據中國計量科學研究院測試結果該標準測 力儀為0.1級,可知:
2.3.1.1按測量上限(fS給出的級別、最大允 許誤差絕對值MPEV/FS及重復性限r/FS分別為 MPEV/FS=0.1 ; r/FS=0.1
2.3.1.2在儀器示值不確定度u?中系統效 應導致的分量up F
按矩形分布轉換因子b=0.6與分散區間半寬
a=MPEV之積
uSTS F =0.6MPEV=0.6 x 0.1% FS=0.06%
2.3.1.4隨機效應導致的分量F 按重復性標準差sfr/2.8 Urd (F =0.4 x 0.1% FS=0.04%
2.3.1.5 所以 u(F 2=usys2+uJ u (F /FS=0.07%
由標準測力儀準確度等級帶來的誤差可作為 均勻分布處理,則
叫=30000 x 0.07% /2=10.5kg
2.3.2高精度力傳感器安裝誤差引起的不確 定度分量
測力儀安裝時由于受力軸線與動態汽車軸重 儀受力軸線應考慮其垂直于臺面不一致時, 會產生誤差,一般來說,而軸線不一致性不會超 過1° ,所以由角度帶來的誤差u 0為 u (0) = (1-cos1° ) =1.2 x10-4 由角度帶來的誤差可作為均勻分布處理,則 的=30000 x 0.012% /2=1.8kg
2.3.3合成標準不確定度
由于各標準不確定度分量互不相關,所以:
uc=姨u;+u; ?10.6kg
2.3.4擴展不確定度
若按置信概率P=0.95%計算(k=2 ,擴展不確 定度 U= uc=2 x 10.6kg=21.2kg
3.測量不確定度報告
上述分析及計算按UF 1059-1999《量不確定 度評定與表示》進行,得到動態公路車輛地磅自動檢測系統相對擴展不確定度為:U95reF21.2kg 置信概率P=0.95 ;包含因子k=2。根據動態地磅在30t稱量處的最大允許誤差M PE= ±1.5e=1.5 x 50kg=75kg,靜態:U/MPE 各 1/3。
上述不確定度評定能夠滿足量值傳遞要求, 是可行的。

